
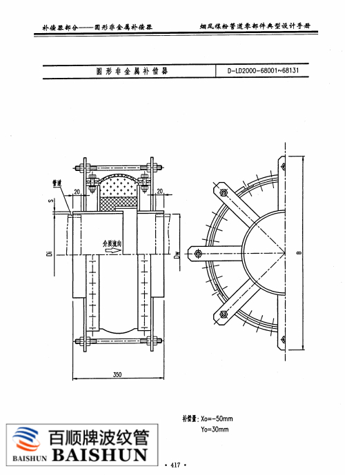
在 D-LD2000 中, 68001-69870 分別闡述了電廠用到的圓形非金屬補償器和矩形非金屬膨脹節。設計手冊分別從標號、公稱通徑、管道內徑、外徑 * 厚度、外形尺寸及重量多個維度規范了非金屬補償器的設計要求。
通常電廠用非金屬補償器軸向補償器為 50mm ,徑向也叫做橫向補償量為 30mm 。如果大于 30mm’ ,非金屬膨脹節則采用迷宮式結構進行設計。結合我們河北偉業波紋管制造有限公司實際生產經驗而言, D-LD2000 中明確的外形尺寸和重量可以作為參考值,因為對于實際工況而言 , 設計手冊相對保守了 , 因而嚴格按照 D-LD2000 來設計 , 非金屬膨脹節造價要高很多。這種情況我們也會和客戶溝通,客戶也會結合現場工況進行調整,改為仿 D-LD2000 標準的非金屬補償器。



冀公網安備 13098102000627號